Quoi de neuf ?
FlipperFrance

Quoi! Comment! Pas encore membre d'FF ! Franchissez le pas, incrscrivez vous avec le mail de votre F.A.I (VPN Exclus) et participez à la vie flippéristique

Resolu Terminator 2, F102 qui crame

bouze1977

Fred
Membre FF
Salut à tous,

Bon alors je viens de faire un swap plateau sur mon Terminator 2, tout fonctionne sauf le batteur de droite.
Quand je l'actionne, il se lève une fois lentement puis plus rien.
Le F102 claque à chaque fois.
C'est très certainement du à mon swap car avant il fonctionnait très bien.
J'ai testé la bobine, elle est OK, et pas de cours-jus.
Testé l'EOS, ok aussi.
Si vous avez une idée?
En vous remerciant de m'avoir lu.
Fred
 
Tu ne t'es pas trompé dans le sens des fils de la bobine si jamais tu les avais dessoudés et as tu vérifié le transistor. Quand tu manipule le batteur a la main il n'y a pas de point dure
 
Bobine pas dessoudée, le système coulisse parfaitement.
J'ai oublié de préciser que j'avais profité du swap pour installer nouveau plongeur, butée, etc...
Mais que j'avais laissé les EOS d'origine, et le batteur concerné avait déjà été modifié pour un système classique, à savoir fermeture lors de l'action et non pas ouverture.
J'ai tout testé et je ne vois pas ce qui cloche...
 
C'est très certainement du à mon swap car avant il fonctionnait très bien.
J'ai testé la bobine, elle est OK, et pas de cours-jus.
Tu l'as bien montée dans le même sens ?
 
Bobine pas dessoudée, le système coulisse parfaitement.
J'ai oublié de préciser que j'avais profité du swap pour installer nouveau plongeur, butée, etc...
Mais que j'avais laissé les EOS d'origine, et le batteur concerné avait déjà été modifié pour un système classique, à savoir fermeture lors de l'action et non pas ouverture.
J'ai tout testé et je ne vois pas ce qui cloche...
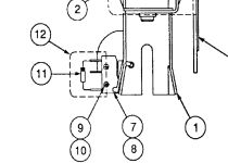
TON EOS est bien réglé ?
OUvert en position haute ?
Fermé en bas
Bien ouvert de 2.5 mm quand le batteur est en haut ?
 
Mais que j'avais laissé les EOS d'origine, et le batteur concerné avait déjà été modifié pour un système classique, à savoir fermeture lors de l'action et non pas ouverture.
Tous les T2 sont à commande de puissance
DONC EOS repos fermé, ouvert position haute

Il n'y a pas de Fliptronic ici
 
Ben je vais corriger le tout et remonter l'EOS en mode origine et je te dirai.
Là je suis à court de fusibles.
Donc on se reparle en fin de semaine et je te dirai ce qu'i en est.
Merci
 
Regarde mon petit arc en ciel arcencielarcencielarcenciel

1764449495626.png

Comme CHAT, fermé au repos :)
 
Hello,
Bon je viens aux nouvelles et elles sont bonnes.
J'ai tout remis d'origine, EOS fermé au repos et le batteur de droite fonctionne à nouveau.
Merci à vous!
Ce que je ne comprend pas c'est que ca fonctionnait avant... Bref.

Je rencontre un autre problème et là je comprend vraiment pas!!!

Lorsque le canon est chargé, en appuyant sur la gâchette la bille n'est pas éjectée.
La bobine du canon fonctionne
La gâchette fonctionne
Le switch de détection de bille fonctionne.
Reset usine effectué.

Je vais ouvrir la gaine et contrôler les fils mais j'en doute.
Si vous avez une autre piste?
Merci!
Fred
 
Si tu avais un soucis de fil qui passent dans le tube, cela merderai tout le temps

Alors je te conseille plus de voir si la bille est bien contre le contact

1764508741255.png

Souvent la cause
 
Oui la bille est bien dans le contact.
En test canon le canon bouge bien et la bille est bien détectée.
Y aurait-il un composant HS suite au problème d'EOS qui commande la bobine du canon en jeu?
Car en test le canon est 100% fonctionnel...
 
Yes, trouvé.
C'était le switch "at mark" qui était déréglé.
Il doit s'agir d'une sécurité pour ne pas tirer la bille dans les décors et uniquement vers les cibles.
Switch ajusté, maintenant il capte bien la zone de tir.
100% fonctionnel, Merci à tous!
 
Retour
Haut Bas